La Yamaha R7 se introdujo en 2022, hace 2 años, y desde entonces ha cosechado un importante éxito a nivel comercial. La jugada de Yamaha era acercar su gama racing a todo aquel que viera un poco lejos la R1, y así cubrir, en cierto modo, el hueco que dejaba la R6. Además, por otro lado, como es propio de Yamaha, tenísn cierta mira puesta en la competición. Actualmente es la supertwin más eficaz del mercado en pista, y aunque todavía esa categoría no goce de reconocimiento oficial en los campeonatos mundiales, algo nos dice que acabará teniéndola. Mientras ya ha logrado su propia categoría monomarca en todos los países de Europa, como es la R7 cup, que por cierto, nosotros tuvimos la suerte de poder participar en una carrera y realizamos un vídeo.
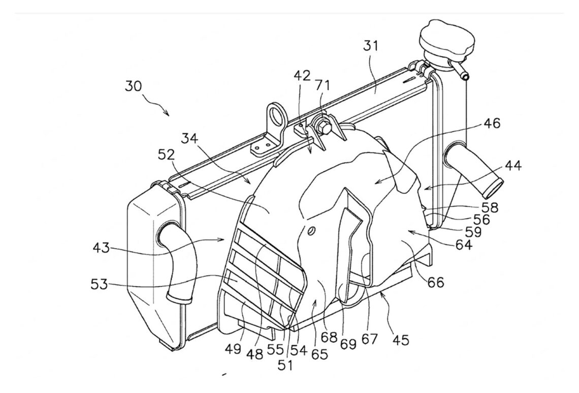
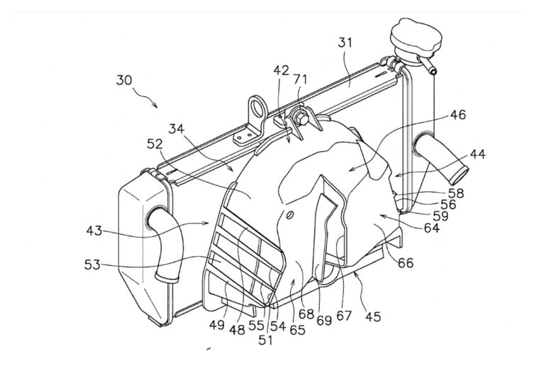
Ahora nos llegan unas patentes filtradas donde apenas se ven cambios sobre la carrocería general, pero sí una modificación en el sistema de refrigeración que nos puede dar indicios a pensamientos muy interesantes, ya que, la Yamaha R7 actual no tiene ni ha tenido nunca problemas de refrigeración.
Estas patentes filtradas muestran un nuevo radiador más grande para la Yamaha R7, manteniendo prácticamente la misma carrocería, chasis y diseño general. Ciertamente estamos en ese punto donde 2 años son todavía pocos para una actualización grande, pero suficientes para no haber introducido ningún cambio. Pero, si la Yamaha R7 no tiene problemas de refrigeración ni, tampoco los necesita pues en competición se utiliza el radiador original... ¿Porque su posible actualización viene centrada en el radiador, ergo, en el sistema de refrigeración?
Bueno, lo primero que podemos pensar es lo más obvio; más potencia más refrigeración, por tanto, más refrigeración puede significar un aumento de potencia, y no a base de ampliar la cilindrada, pues la R7 se sitúa en ese umbral de cilindrada media que la hace tan interesante, y a poquito más estará ya la también esperada R9.
Por tanto, nosotros preferimos inclinarnos ante la posibilidad de una versión especial y más preparada de la Yamaha R7 que de una actualización por un componente del que no necesita mejorarse (radiador).
Realmente en la patente filtrada no apreciamos nada más allá del radiador, es decir, no se habla de potencia ni de chasis ni de nada más. En todo caso, de una nueva abertura lateral y por tanto una modificación del el carenado lateral, lo primero para dar hueco a este radiador más grande y, segundo, para facilitar la ventilación del mismo en marcha.
Dicho esto, todo lo demás es elucubrar, pero imaginamos que el motivo podría ser un motor bastante más apretado, tanto como para poner en compromiso el sistema de refrigeración actual. A ello seguramente se le sumen unas suspensiones más deportivas, así como otros cambios más orientados a la competición (estriberas, pastillas y bomba de freno, neumáticos... etc), como encontramos en la preparación de las Yamaha R7 de la Copa R7.

















