El futuro eléctrico de la moto avanza, pero en el camino aparecen inventos que parecen sacados de una conversación de bar entre colegas. El último viene de Yamaha, que ha registrado una patente en la que plantea algo tan insólito como instalar un motor de combustión “falso” en una moto eléctrica, solo para que haga ruido y se mueva como uno de gasolina.
Puede sonar a broma, pero no lo es. La patente existe (número WO/2025/191637 en la OMPI) y describe con todo detalle un sistema en el que el propulsor eléctrico mueve un bloque mecánico de cuatro tiempos… que en realidad no impulsa nada. Su única función es reproducir el sonido y las vibraciones de un motor de combustión.
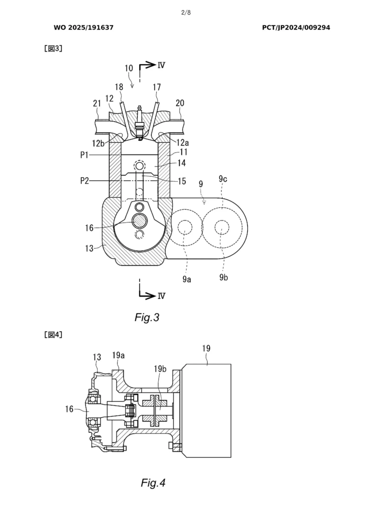
Así funciona el invento
El esquema es tan curioso como enrevesado: el motor eléctrico hace girar un cigüeñal conectado a pistones que entran y salen, mueven aire por conductos de admisión y escape y generan ondas de presión. Un resonador se encarga de amplificar el resultado, creando un ruido lo más parecido posible al de un motor de gasolina. De paso, las piezas en movimiento transmiten vibraciones reales, que aumentarían o disminuirían en función del ritmo de conducción.
En definitiva, una moto eléctrica que se siente como si llevara un motor térmico bajo el depósito (spoiler: depósito también fake), aunque en realidad sea solo un “fantasma”.
¿Genialidad o marcianada?
La intención de Yamaha es comprensible: muchos motoristas siguen viendo las motos eléctricas como algo frío, sin gracia o carente de alma. Si la experiencia de conducción se puede hacer más “auténtica” con ruido y vibraciones artificiales, ¿por qué no probar con esto? Quién sabe, quizá así las eléctricas ganarían adeptos.
Claro que la pregunta es inevitable: ¿necesitamos un motor falso para disfrutar de una moto eléctrica? ¿No sería mejor centrarse en autonomía, recarga y prestaciones? Lo cierto es que, de vez en cuando, estas ideas que parecen una locura acaban abriendo camino. Y quién sabe si dentro de unos años lo que hoy nos parece un disparate será lo normal en los garajes. Seguro que cosas más raras habrás visto.












xdd
Esto parece una de esas patentes que se hacen por cortar paso a la competencia más que otra cosa
yo creo que si quieren emular las motos de combustión lo importante serían las marchas y el embrague, porque el ruido y las vibraciones son más estética que otra cosa y lo extraña que resulta esta parente demuestra lo bobo que es como argumento