La Suzuki GSX-R Turbo puede estar cerca de ser una realidad en 2017. Algunos dibujos de la patente de una superbike sobrealimentada firmada por la marca de Hamamtsu han sido desvelados y confirman que los desarrollos de Suzuki en esta línea están avanzados.
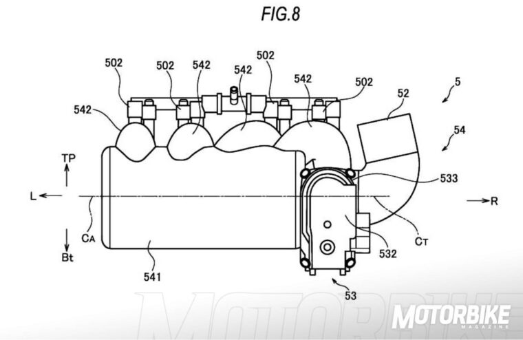
Se han desvelado unas patentes firmadas por Suzuki en las que integra un turbocompresor en el motor de una nueva moto. Según los trazos y los bocetos, pocas dudas nos vienen y parece que será una Suzuki GSX-R Turbo.

Antigua Suzuki XN85 Turbo
Los rumores sobre nuevas motos Turbo (o sobrealimentadas) no son nuevos, sobre todo en la firma de Hamamatsu, donde no han ocultado que están trabajando en nuevos motores turbo. No en vano, siempre ha sobrevolado la idea (y el deseo) de que saliera una Hayabusa Turbo. Lo más palpable, sin embargo, fue su propuesta de hace casi tres años, la llamada Suzuki Recursion, que disponía de un motor con turbo.
Ahora, con los dibujos desvelados, parece que el sistema sobrealimentado se montará en una Suzuki GSX-R750. A ella habrá que añadirle nuevas tomas de aire para aumentar el flujo de aire. Otros dibujos del lateral izquierdo invitan a pensar que también es factible el turbo en la GSX-R1000 o incluso algunos piensan que puede ser una Hayabusa con carenados de un estilo más de superbike.
¿Veremos una Suzuki GSX-R750 Turbo y una GSX-R1000 Turbo en los próximos EICMA o INTERMOT para llegar en 2017? La Kawasaki Ninja H2 ya está aquí y ha abierto la veda para que lleguen nuevos modelos sobrealimentados. Es más, el turbo y la sobrealimentación aparecerán en más modelos de los que pensamos. Las leyes anti-emisiones (actual Euro 4 y la futura y super restrictiva Euro 5) van a obligar a los ingenieros a pasar noches en vela para conseguir motores que mantengan la potencia de sus motos actuales cumpliendo con los límites legales.











