Suzuki experimenta con un scooter híbrido de tracción a las dos ruedas
Unas patentes muestran los estudios que está realizando Suzuki para realizar un scooter híbrido con motor de gasolina convencional y un motor eléctrico para dar tracción a la rueda delantera. ¿Estamos cerca de scooter híbrido con tracción a las dos ruedas?
Parece ser que Suzuki está preparando un sistema de doble tracción en scooter, según lo que ha registrado la marca en la Oficina de Patentes de los EEUU (USPTO) y recoge Motorcycle.com. Este sistema se basa en un motor eléctrico acoplado al eje de la rueda delantera que serviría de complemento a la tracción trasera convencional de gasolina, formando en conjunto una moto híbrida.
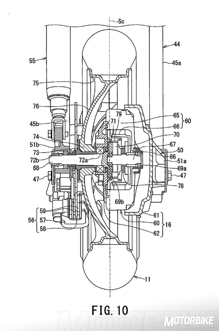
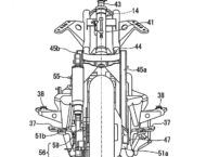
El modelo en el que se basan es un Suzuki Burgman 125 o Burgman 200, pero con un sistema de suspensión delantera poco convencional, con basculante y el motor eléctrico en la parte izquierda y un amortiguador y el disco de freno montado en el lado izquierdo. La patente parece explicar el modo de equilibrar el peso entre cada lado, pero no cómo se alimenta o cifras de rendimiento. El basculante (50 en el diagrama) está montado sobre la horquilla fija (44) en un pivote (47). El monoamortiguador (55) está conectado a la parte superior del lado derecho de la horquilla y el basculante a la altura del eje de la rueda. El disco y la pinza de freno están en el lado derecho para compensar la distribución de peso.
Los dibujos 12, 13 y 14 muestran otra versión del scooter híbrido de Suzuki con un motor delantero más delgado, con el rotor localizado fuera del estator en vez de dentro.
Veremos si Suzuki hace algún experimento con un concept o incluso un modelo de serie con este sistema de scooter con tracción total, aunque todavía parece que la marca está considerando el peso, la potencia y la alimentación y ver si es viable.
No sería la primera vez que vemos una moto con tracción a las dos ruedas. Yamaha mostró una TT600R y una WR450F con tracción en las dos ruedas. Incluso la propia Suzuki ya experimentó sistemas a finales de los ochenta y noventa con el prototipo Nuda y otras propuestas como la enduro XF5. Hoy en día, la estadounidense Christini es una de las opciones más solventes.
Lo que parece claro es que la inocentada de la BMW R 1200 GS con tracción total del Fool April's Day no iba muy desencaminada y es bastante verosímil...



































