Se filtran patentes de la Yamaha de motocross eléctrica donde se muestran soluciones técnicas relativas a la estanqueidad e impermeabilización, así como de gestión de energía y batería.
Que Yamaha está trabajando en una moto eléctrica de motocross no es ninguna novedad, sin embargo, los detalles y soluciones tecnológicas que están implementando, sí. Hoy nos llegan unas patentes filtradas de la marca de los tres diapasones donde podemos ver reflejado dos aspectos nunca antes vistos: un novedosos sistema para gestión y rendimiento programable de la batería y, todo un diseño pensado para lograr la estanqueidad y resistencia al agua necesaria.
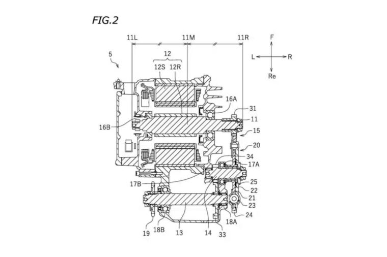
Anteriormente Yamaha había mostrado como iba a diseñar los sistemas de transmisión y gestión de la entrega de potencia y par. Ahora las últimas patentes filtradas se centran en lo mencionado; estanqueidad y gestión de la batería.
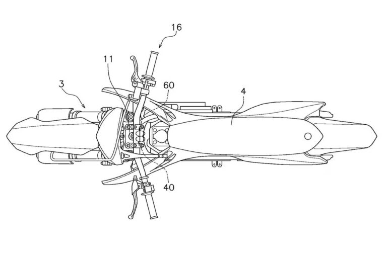
El primero que podemos ver es la intencionalidad de Yamaha en lograr resistencia al agua, así como un mínimo de estanqueidad para proteger y salvaguardar todos los componentes eléctricos, ya sean conexiones, la propia batería, o los módulos de control. Este objetivo lo van a lograr gracias a un sofisticado diseño de impermeabilización mediante diferentes membranas por todos los posibles orificios de la carrocería, así como los consecuentes respiraderos para evacuar o liberar la posible humedad.
El otro punto donde Yamaha muestra una solución técnica es la gestión de la batería y su rendimiento programable. Literalmente se trata de lo mencionado; Yamaha ha desarrollado un simple software que lee los hábitos del usuario y, mediante una interfaz, se indica el tiempo que va a durar la manga y el propio sistema se encarga de adaptar la gestión de la batería para lograr el máximo rendimiento de la misma sin que se agote antes del final.
Como siempre, esto no es más que información con cuentagotas que vamos pudiendo extraer de lo que se filtra, por ello mismo debemos esperar a tener más información para conocer todo esto con mayor detalle. Estaremos atentos por si Yamaha arroja algo más de luz relativo a este tema.














