Yamaha y su coche anfibio
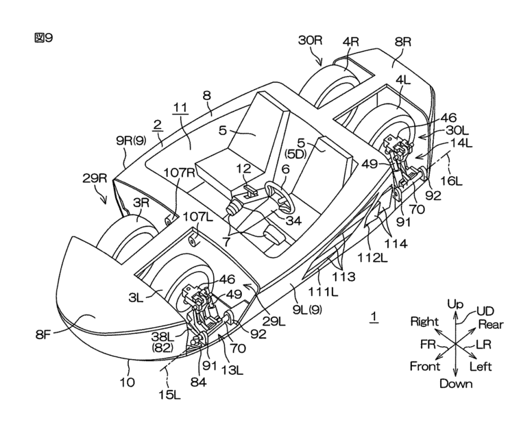
Yamaha ha registrado una patente de un vehículo que bien parece ser un coche anfibio cuyas cuatro ruedas son retractiles para guardarse en unos compartimentos cuando está en el agua.
Traemos a nuestro #BikeLeaks (o mejor dicho #CarLeaks) un vehículo muy particular: ¡un coche anfibio! Yamaha, gigante japonés que tiene divisiones dedicadas al mundo de la motocicleta pero también a los instrumentos musicales, entre otros negocios, parece que está experimentando también con vehículos mixtos, por llamarlos de alguna manera...
Según unos dibujos registrados en la oficina japonesa de patentes, Yamaha está trabajando sobre un coche anfibio con sus cuatro ruedas correspondientes cuyo bastidor y diseño general recuerdan al de una barca. Cuenta con unos compartimentos en los que las ruedas, que serían retráctiles, podrían guardarse cuando el coche se adentra y flota sobre el agua para convertirse así en una embarcación. Esta solución permite que el vehículo no tenga que ser exageradamente ancho.
No se saben más datos acerca del motor u otros componentes aunque sí se confirma literalmente que cuenta con un motor que le propulsará sobre el agua.
No será la primera vez que Yamaha 'amenaza' con un coche. El último fue un pequeño prototipo deportivo presentado en Tokio el año pasado denominado Sports Ride Concept y no podemos olvidarnos del intento fallido del superdeportivo Yamaha OX99-11 de primeros de los noventa.
De momento, parece que el coche anfibio de Yamaha está lejos de ver la luz, pero seguro que algún ensayo o prototipo se mostrará en los próximos años.












